三极管是流控型元件,MOS管是压控型元件。
我们常见的NMOS、PMOS是绝缘栅型场效应管。
MOS 管的使用场景:
作为开关,这是MOS管99.9%的应用场景。利用开关的特性,可拓展用于防反接电路、电源切换电路等。
在模拟电路中,可用于放大、恒流源、可变电阻、阻抗变换等。但是基本上用不到,最多用个恒流源。
场效应管只有多子参与导电,NMOS是电子,PMOS是空穴。
MOS 管的电流方向能反吗,体二极管能过多大的电流。
MOS管符号
NMOS 符号:

PMOS 符号:

NMOS 和 PMOS 很好区分,“屁是往外放的”,箭头向外的就是 PMOS。
区分 S 和 D :横着有3根线,和中间那根线连在一起的是栅极 S
寄生二极管的方向:看中间那个箭头的方向。
作为开关使用的时候,根据二极管的方向,反着接就行了,正着接就失去了开关作用。
NMOS 工作原理

注意,阴影部分不全是SiO2,下面方向反过来的是耗尽层。
衬底 B 和栅极 S 连接,几乎100%的 MOS 芯片这样接。
NMOS 管由两个高掺杂的 N 型半导体和一个低掺杂的 P 型半导体组成,因此形成了两个 PN 结。
NMOS管工作原理:
(一)不施加电压时
漏极和源极之间相当于有两个背向的二极管,不存在导电通道,即使漏源之间添加电压,也不会产生漏极电流。
(二)

栅极上的正电荷,排斥空穴,吸引电子,形成耗尽层。
当继续增大,耗尽层变宽,同时将衬底的电子吸了上去,形成了反型层,即 DS 之间形成导电沟道。
使导电沟道刚刚形成的栅源电压称为开启电压
栅源电压越大,反型层越宽,导电沟道电阻越小。
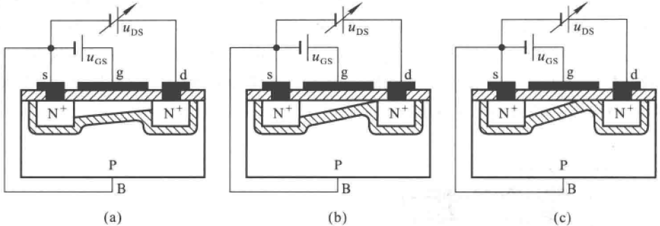
(三)

在漏-源之间加上正向电压,则会产生漏极电流。
(1)当较小时,沟道厚度均匀,增大会使漏极电流线性增大。
(2)当增加时,靠近漏极的沟道会变窄。
导电沟道的厚度是由决定的,因此,某个点的厚度取决于栅极和该点位之间的有效电压差 ,设该点的电压为,则,越靠近漏极,越小,导电沟道越窄。
在漏极附近的点,当时,,此时达到了沟道关闭的临界点,称为预夹断。此时的为夹断电压。
(3)如图(c)所示,当继续增大,夹断区随之变长,此时导电沟道不存在了,但这并不意味着没有电流了。
在外电场的作用下,自由电子通过漂移运动到达漏极,仍然能形成电流。
此时几乎不因的增大而变化,因为电流是单位时间内通过导体某一截面的电荷量:
决定着电子的速度,控制着实际的电流大小。但电子的漂移速度是有极限的,电场强度即使再大,它也只能这么快。
注入沟道入口处的电子数量是由控制的,决定着电荷量的上限。电荷就这么多,再大,在单位时间内也只能搬运这么多。
NMOS 特性曲线

夹断区():不导通,无漏极电流。
可变电阻区():推导很复杂,记住这个结论就行了。
恒流区(饱和区)():几乎不因的增大而变化。
PMOS
空穴,是个虚拟的概念,是为了更好的理解,实际上还是电子在空穴间的移动,空穴本身不会动。

PMOS 由两个高掺杂的 P 型半导体和一个低掺杂的 N 型半导体组成,同样将衬底 B 和源极 S 连接。
PMOS 管和 NMOS 管工作原理类似,他们的逻辑行为是相反的。
PMOS特性曲线:

(1)截止区
和 NMOS 完全反过来,
(2)可变电阻区
,当时导通。
(3)恒流区(饱和区)
和 NMOS 一样,靠近源极的点的点位高,和栅极之间的有效电压小。
主要参数
直流参数:
开启电压
夹断电压
直流输入电阻
饱和漏极电流
交流参数:
极间电容
低频跨导
极限参数:
击穿电压 :
最大漏极电流 :
选 NMOS 还是 PMOS 呢?
由于寄生二极管的存在,二极管反向恢复需要时间,选择MOS管时候,必须考虑频率。
应用电路
作为开关的时候,要保证MOS管能完全导通。